مقالات
اپل واچ ۶ احتمالا میتواند از غرق شدن شما جلوگیری کند
خلاصه :
اپل واچ ۶ د...اپل واچ ۶ در آیندهای نزدیک معرفی خواهد شد و در رابطه با آن خبرهای نسبتا زیادی منتشر شده. یکی از این خبرها اما روز گذشته منتظر شد مبنی بر اینکه این ساعت هوشمند میتواند کاربران را از غرق شدن و یا حتی در معرض آب آلوده قرار گرفتن نجات دهد. اما سوال اینجاست که این اتفاق چگونه رخ میدهد؟
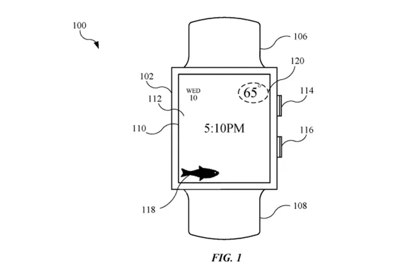
اپل پتنتی را تحت عنوان «وسیله الکترونیکی قابل حمل به عنوان همیار سلامتی» (Portable Electronic Device As Health Companion) به ثبت رساند که به لطف وبسایت اپلاینسایدر به آن دسترسی داریم. اینطور که از پتنت میفهمیم، به نظر میرسد ساعت جدید اپل سنسور آب دارد. این سنسور همانطور که از نامش پیداست میتواند تشخیص دهد کاربر زیر بارش باران قرار دارد یا خیر و یا در مورد وضعیت آب و هوا او را باخبر سازد. اما همه چیز در رابطه با این سنسور به همین جا ختم نمیشود و چیزهای بسیار هیجانانگیزتری در آن وجود دارد!
با توجه به پتنت، سنسور آب میتواند نوع آبی که کاربر در معرض آن قرار دارد را هم تشخیص دهد. به عبارتی میداند که کاربر اکنون در زیر باران قرار دارد، برای شنا به استخر یا دریاچه رفته و یا فقط در حال عرق کردن است! سپس با خواندن از روی تاریخ و موقعیت مکانی شما، اپل واج مجهز به این سنسور سعی میکند تشخیص دهد در معرض چه نوع آبی قرار دارید. مثلا اینکه آیا طبق برنامه به شنا رفتهاید و یا تصادفا درون دریاچه یا رودخانه افتادهاید.

البته اگر شخصی به درون آب بیفتد قطعا قبل از اینکه اپل واچ بخواهد این موضوع را تشخیص دهد و از طریق اعلانات به وی اطلاع دهد، خودش متوجه خواهد شد اما میتوان از طریق این اعلان دیگران را از بابت اینکه کاربر در شرایط خطرناکی قرار دارد آگاه کرد و یا با اورژانس یا فرد مورد اعتماد وی تماس گرفت.
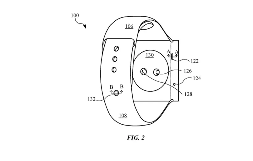
ساعت هوشمند جدید حتی میتواند کیفیت آبی را که در آن قرار می گیرد را هم تشخیص دهد. مثلا شوری یا شیرینی آن را چون حفرههایی روی آن و بند ساعت قرار دارد که به نظر میرسد از طریق همان حفرهها چنین کاری انجام میدهد. سپس میتواند از این طریق و همچنین با کمک اطلاعاتی که از موقعیت مکانی کاربر بدست میآورد، متوجه شود آیا کاربر در شرایط خطرناکی قرار دارد و به اورژانس نیاز دارد یا خیر. این سنسور حتی میتواند آلودگی آب را نیز تشخیص داده و به کاربر هشدار دهد به آن نزدیک نشود.
نکته جالب اما زمانی است که ساعت جدید اپل میتواند با کمک موقعیت مکانی و همین سنسور خود، شما را از وجود جریانهای شدید آب و یا حتی کوسهها نیز آگاه کند! این مورد از طریق نوار اعلانات به شما یادآوری خواهد شد. مثلا آیکون کوسه روی ساعت به نمایش در میآید.

این پتنت منحصرا مربوط به ساعت هوشمندی است که از این قابلیتها بهره میبرد اما خب میتوان آن را در گوشیها نیز مورد استفاده قرار داد. مثلا آیفونهای آینده. چون آنها گجتهایی هستند که در اکثر مواقع به همراه داریم و از آن جایی هم که این گوشیها ضد آب هستند، بنابراین میتوانند میزبان خوبی برای این قابلیتهای جذاب باشند.
با وجود این پتنت و قابلیتهایی نظیر سنجش سلامت ذهنی، تعویض بزل گردان و قرار دادن سنسور اپتیکال به جای آن و ردیاب خواب که خیلی وقت است منتظر آمدنش به ساعتهای اپل هستیم، انتظار برای رونمایی از اپل واچ ۶ بسیار سخت و هیجانانگیز شده. به احتمال زیاد این محصول در سپتامبر سال جاری و به همراه آیفون ۱۲ رونمایی میشود. هرچند گفته میشود به خاطر شیوع ویروس کرونا اپل قصد دارد تاریخ رونمایی از محصولات خود را به تعویق بیندازد.

ᎥᏞᎥᎪ ᎠᎾᏞᎪᏆᎥ
۵ سال پیش
ᎥᏞᎥᎪ ᎠᎾᏞᎪᏆᎥ
۵ سال پیش
ᎥᏞᎥᎪ ᎠᎾᏞᎪᏆᎥ
۵ سال پیش